lisahost(丽萨主机)新上越南双ISP原生家宽住宅IP VPS服务器,独家小众越南西贡邮电宽带运营商IP段,默认一个IPv4(双ISP属性)+5个原生IPv6,国际线路,高质量双ISP住宅家宽纯净IP, 解锁越南本土服务和流媒体, Netflix, Youtube Premium, INS,FB营销,WhatsApp营销等。这篇文章就来测评分享该商家的越南VPS的测评数据~~

1、官网
2、越南住宅双ISP属性IP的VPS
越南西贡邮电SPT,默认一个IPv4(双ISP属性)+5个原生IPv6
9折优惠码 :TS-CBP205DQJE
| CPU | 内存 | NVMe | 带宽/月流量 | 价格 | 购买 |
|---|---|---|---|---|---|
| 1核 | 1G | 20G | 100M/3T | 88元/月 | 链接 |
| 2核 | 2G | 40G | 150M/6T | 129元/月 | 链接 |
| 4核 | 4G | 80G | 200M/20T | 599元/月 | 链接 |
| 2核 | 2G | 40G | 100M/不限 | 899元/月 | 链接 |
| 4核 | 4G | 80G | 200M/不限 | 1899元/月 | 链接 |
| 1核 | 1G | 10G | 100M/1T | 699元/年 | 链接 |
3、基本参数
CPU E5-2686 v4 @ 2.30GHz,磁盘IO当前测试大致为592.7 MB/s,越南原生IP,不支持ipv6
CPU Model : Intel(R) Xeon(R) CPU E5-2686 v4 @ 2.30GHz CPU Cores : 4 @ 2299.996 MHz CPU Cache : 46080 KB AES-NI : ✓ Enabled VM-x/AMD-V : ✓ Enabled Total Disk : 78.7 GB (1.2 GB Used) Total Mem : 3.8 GB (85.1 MB Used) System uptime : 0 days, 20 hour 41 min Load average : 0.00, 0.00, 0.00 OS : Debian GNU/Linux 11 Arch : x86_64 (64 Bit) Kernel : 5.10.0-11-cloud-amd64 TCP CC : bbr Virtualization : KVM IPv4/IPv6 : ✓ Online / ✗ Offline Organization : AS7602 Sai gon Postel Corporation Location : Ho Chi Minh City / VN Region : Ho Chi Minh City (HCMC) ---------------------------------------------------------------------- I/O Speed(1st run) : 581 MB/s I/O Speed(2nd run) : 575 MB/s I/O Speed(3rd run) : 622 MB/s I/O Speed(average) : 592.7 MB/s ---------------------------------------------------------------------- Node Name Upload Speed Download Speed Latency Speedtest.net 189.57 Mbps 190.02 Mbps 11.52 ms Paris, FR 172.90 Mbps 215.30 Mbps 214.62 ms Hong Kong, CN 191.01 Mbps 190.64 Mbps 37.84 ms Singapore, SG 189.84 Mbps 191.41 Mbps 63.18 ms Tokyo, JP 188.54 Mbps 8.43 Mbps 101.21 ms ----------------------------------------------------------------------
4、IP测试
流媒体:

流媒体:

IP质量测试:

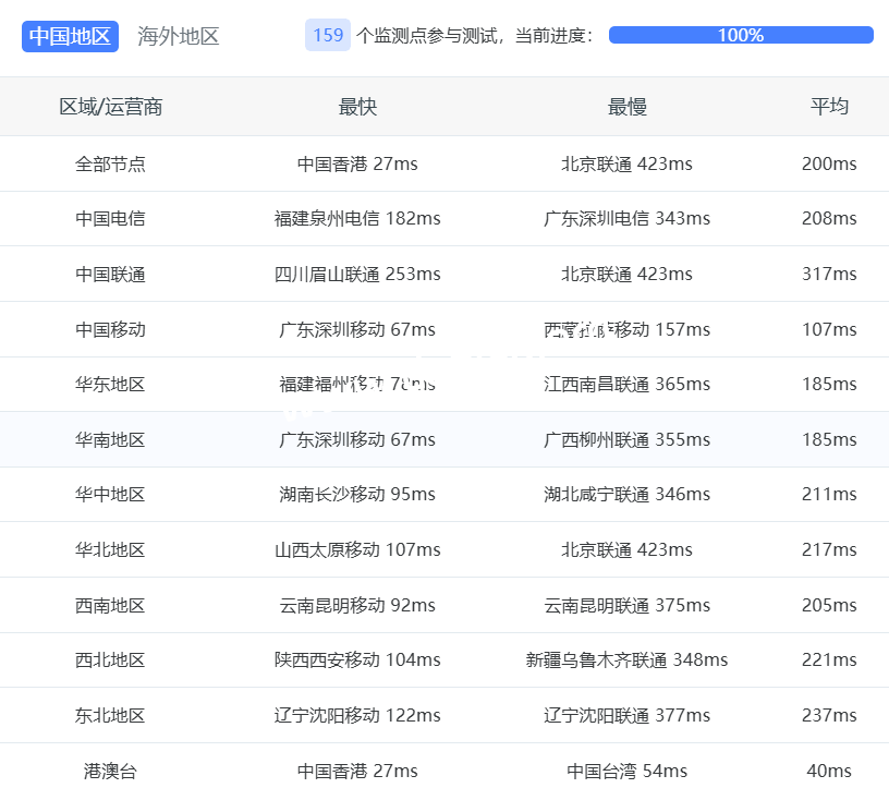
5、网络测试
测速:

网络质量测试:

ping检测:


6、路由
北京三网回程:
北京 电信 VNPT -> 163 地理路径:越南 -> 香港 -> 北京 自治系统路径:AS45899 -> AS23764 -> AS4134 -> AS4847 2 1.12ms 10.132.*.* * RFC1918 3-5 1.08ms 203.162.*.* AS45899 [VNPT-VN] 越南 河内市 vnpt.vn 6 25.27ms 113.171.*.* AS45899 [VNPT-VN] 越南 岘港市 vnpt.vn 7 28.06ms 113.171.*.* AS45899 [VNPT-VN] 中国 香港 vnpt.vn 9 28.25ms 69.194.*.* AS23764 * 中国 香港 电信/CTGNet 10 175.34ms 203.22.*.* AS23764 [CTG-CN] * 中国 香港 163-CTG CTGNet 13-14 197.36ms 202.97.*.* AS4134 [CHINANET-BB] 中国 北京 chinatelecom.com.cn 电信 16 258.52ms 219.141.*.* AS4847 [CHINATELECOM-BJ] 中国 北京 bj.189.cn 17 198.59ms 36.112.*.* AS4847 中国 北京 bj.189.cn 18 225.46ms 219.141.*.* AS4847 [CHINATELECOM-BJ] 中国 北京 bj.189.cn 北京 联通 Cogent -> NoData 地理路径:越南 -> 印度 -> 美国 -> 北京 自治系统路径:AS45899 -> AS9498 -> AS174 -> AS4808 2 0.87ms 10.132.*.* * RFC1918 3-5 1.01ms 203.162.*.* AS45899 [VNPT-VN] 越南 河内市 vnpt.vn 6 25.38ms 113.171.*.* AS45899 [VNPT-VN] 越南 奠边省 vnpt.vn 7-8 34.51ms 128.185.*.* AS9498 印度 Airtel.in 9-14 207.26ms 154.54.*.* AS174 [COGENT-BONE] 美国 加利福尼亚 洛杉矶 cogentco.com 15-16 181.89ms 38.120.*.* AS174 美国 加利福尼亚 圣何塞 cogentco.com 18 396.10ms 61.148.*.* AS4808 [UNICOM-CN] 中国 北京 北京 www.bbn.com.cn 19-20 390.43ms 61.51.*.* AS4808 中国 北京市 延庆 www.bbn.com.cn 联通 22 391.96ms 221.222.*.* AS4808 [UNICOM-BJ] 中国 北京 海淀 www.bbn.com.cn 北京 移动 VNPT -> 163 地理路径:越南 -> 香港 -> 北京 自治系统路径:AS45899 -> AS23764 -> AS4134 -> AS56048 2 2.26ms 10.132.*.* * RFC1918 3 1.18ms 14.238.*.* AS45899 越南 河内市 vnpt.vn 4 41.64ms 113.171.*.* AS45899 [VNPT-VN] 越南 岘港市 vnpt.vn 5 1.88ms 113.171.*.* AS45899 [VNPT-VN] 越南 河内 河内市 vnpt.vn 7-8 27.27ms 113.171.*.* AS45899 [VNPT-VN] 中国 香港 vnpt.vn 9-10 37.41ms 69.194.*.* AS23764 * 中国 香港 电信/CTGNet 11 170.43ms 203.22.*.* AS23764 [CTG-CN] * 中国 香港 163-CTG CTGNet 12-14 194.45ms 202.97.*.* AS4134 [CHINANET-BB] 中国 北京 X-I chinatelecom.com.cn 电信 18-22 101.78ms 211.136.*.* AS56048 [CMNET] 中国 北京 bj.10086.cn 移动 23 90.23ms 211.136.*.* AS56048 [CMNET] 中国 北京 bj.10086.cn 移动
上海三网回程:
上海 电信 VNPT -> 163 地理路径:越南 -> 香港 -> 上海 自治系统路径:AS45899 -> AS23764 -> AS4134 -> AS4812 2 1.16ms 10.132.*.* * RFC1918 3 0.90ms 222.255.*.* AS45899 [VDC-NET] 越南 河内市 vnpt.vn 4 31.91ms 113.171.*.* AS45899 [VNPT-VN] 越南 河内市 vnpt.vn 5-8 25.05ms 113.171.*.* AS45899 [VNPT-VN] 越南 岘港市 vnpt.vn 9 26.78ms 69.194.*.* AS23764 * 中国 香港 电信/CTGNet 10 32.22ms 69.194.*.* * 中国 香港 11 175.55ms 203.22.*.* AS23764 [CTG-CN] * 中国 香港 163-CTG CTGNet 12-15 177.90ms 202.97.*.* AS4134 [CHINANET-BB] 中国 上海 X-I chinatelecom.com.cn 20 183.45ms 101.226.*.* AS4812 [CHINANET-SH] 中国 上海市 chinatelecom.cn 电信 上海 联通 VNPT -> 163 地理路径:越南 -> 香港 -> 上海 自治系统路径:AS45899 -> AS23764 -> AS4134 -> AS140979 2 0.93ms 10.132.*.* * RFC1918 3 1.18ms 14.238.*.* AS45899 越南 河内市 vnpt.vn 4-6 40.70ms 113.171.*.* AS45899 [VNPT-VN] 越南 岘港市 vnpt.vn 7-8 27.50ms 113.171.*.* AS45899 [VNPT-VN] 中国 香港 vnpt.vn 9 25.39ms 69.194.*.* * 中国 香港 10 169.57ms 203.25.*.* [CTHKI-HK] * 中国 香港 163-CTG 中国电信国际 11 181.07ms 203.22.*.* AS23764 [CTG-CN] * 中国 香港 163-CTG CTGNet 12-15 193.21ms 202.97.*.* AS4134 [CHINANET-BB] 中国 上海 chinatelecom.com.cn 24 208.62ms 58.246.*.* AS140979 中国 上海市 chinaunicom.cn 联通 上海 移动 VNPT -> 163 地理路径:越南 -> 香港 -> 上海 自治系统路径:AS45899 -> AS23764 -> AS4134 -> AS9808 2 0.83ms 10.132.*.* * RFC1918 3 1.25ms 222.255.*.* AS45899 [VDC-NET] 越南 河内市 vnpt.vn 4 31.41ms 113.171.*.* AS45899 [VNPT-VN] 越南 河内市 vnpt.vn 5-6 26.18ms 113.171.*.* AS45899 [VNPT-VN] 越南 岘港市 vnpt.vn 7 29.00ms 113.171.*.* AS45899 [VNPT-VN] 中国 香港 vnpt.vn 9 27.07ms 69.194.*.* AS23764 * 中国 香港 电信/CTGNet 10 168.95ms 203.25.*.* [CTHKI-HK] * 中国 香港 163-CTG 中国电信国际 11 182.59ms 203.22.*.* AS23764 [CTG-CN] * 中国 香港 163-CTG CTGNet 12-15 198.84ms 202.97.*.* AS4134 [CHINANET-BB] 中国 上海 chinatelecom.com.cn 17 101.98ms 221.183.*.* AS9808 [CMNET] 中国 上海 chinamobileltd.com 移动 20 89.75ms 117.185.*.* AS9808 [CMNET] 中国 上海市 chinamobileltd.com 移动
广东三网回程:
广东 电信 VNPT -> 163 地理路径:越南 -> 香港 -> 广东 自治系统路径:AS45899 -> AS23764 -> AS4134 2 0.81ms 10.132.*.* * RFC1918 3 1.28ms 14.238.*.* AS45899 越南 河内市 vnpt.vn 4-5 41.15ms 113.171.*.* AS45899 [VNPT-VN] 越南 岘港市 vnpt.vn 6 2.03ms 113.171.*.* AS45899 [VNPT-VN] 越南 河内市 vnpt.vn 8 20.14ms 113.171.*.* AS45899 [VNPT-VN] 中国 香港 vnpt.vn 9 38.11ms 69.194.*.* AS23764 * 中国 香港 电信/CTGNet 10 169.62ms 203.25.*.* [CTHKI-HK] * 中国 香港 163-CTG 中国电信国际 11 176.15ms 203.22.*.* AS23764 [CTG-CN] * 中国 香港 163-CTG CTGNet 12-14 178.17ms 202.97.*.* AS4134 [CHINANET-BB] 中国 广东 广州 chinatelecom.com.cn 15 180.93ms 113.96.*.* AS4134 [CHINANET-GD] 中国 广东 广州 chinatelecom.com.cn 电信 20 184.70ms 183.47.*.* AS4134 [APNIC-AP] 中国 广东省 广州市 chinatelecom.com.cn 电信 广东 联通 VNPT -> 163 地理路径:越南 -> 香港 -> 广东 自治系统路径:AS45899 -> AS23764 -> AS4134 -> AS17816 -> AS4837 -> AS136958 2 1.27ms 10.132.*.* * RFC1918 3 1.39ms 14.238.*.* AS45899 越南 河内市 vnpt.vn 4 31.95ms 113.171.*.* AS45899 [VNPT-VN] 越南 河内市 vnpt.vn 5-6 33.04ms 113.171.*.* AS45899 [VNPT-VN] 越南 岘港市 vnpt.vn 7 28.03ms 113.171.*.* AS45899 [VNPT-VN] 中国 香港 vnpt.vn 8-9 52.69ms 69.194.*.* AS23764 * 中国 香港 电信/CTGNet 10 169.11ms 203.25.*.* [CTHKI-HK] * 中国 香港 163-CTG 中国电信国际 12-14 175.35ms 202.97.*.* AS4134 [CHINANET-BB] 中国 广东 广州 chinatelecom.com.cn 17 229.11ms 120.83.*.* AS17816 [APNIC-AP] 中国 广东 广州 中国联通 联通 18 239.61ms 219.158.*.* AS4837 [CU169-BACKBONE] 中国 广东 广州 chinaunicom.cn 24 222.07ms 157.148.*.* AS136958 [UNICOM-GD] 中国 广东省 广州市 chinaunicom.cn 联通 广东 移动 VNPT -> 163 地理路径:越南 -> 香港 -> 广东 自治系统路径:AS45899 -> AS23764 -> AS4134 -> AS9808 -> AS56040 2 1.29ms 10.132.*.* * RFC1918 3 1.47ms 222.255.*.* AS45899 [VDC-NET] 越南 河内市 vnpt.vn 4-5 31.69ms 113.171.*.* AS45899 [VNPT-VN] 越南 河内市 vnpt.vn 6 14.40ms 113.171.*.* AS45899 [VNPT-VN] 越南 岘港市 C-I vnpt.vn 7-9 27.95ms 113.171.*.* AS45899 [VNPT-VN] 中国 香港 vnpt.vn 10 44.03ms 69.194.*.* AS23764 * 中国 香港 电信/CTGNet 11 183.25ms 203.22.*.* AS23764 [CTG-CN] * 中国 香港 163-CTG CTGNet 12-14 185.53ms 202.97.*.* AS4134 [CHINANET-BB] 中国 广东 广州 chinatelecom.com.cn 电信 17 75.61ms 221.183.*.* AS9808 [CMNET] 中国 广东 广州 chinamobileltd.com 移动 18-22 62.98ms 183.235.*.* AS56040 [APNIC-AP] 中国 广东 广州 gd.10086.cn 移动 24 79.11ms 211.139.*.* AS56040 [CMNET] 中国 广东 广州 gd.10086.cn 移动
电信去程:

联通去程:

移动去程:

7、性能
SysBench 测试:
SysBench CPU 测试 (Fast Mode, 1-Pass @ 5sec) --------------------------------- 1 线程测试(单核)得分: 799 Scores 4 线程测试(多核)得分: 2982 Scores SysBench 内存测试 (Fast Mode, 1-Pass @ 5sec) --------------------------------- 单线程读测试: 18299.57 MB/s 单线程写测试: 13490.95 MB/s
Geekbench 5 Benchmark Test:
Geekbench 5 Benchmark Test:
---------------------------------
Test | Value
|
Single Core | 669
Multi Core | 2373
Full Test | https://browser.geekbench.com/v5/cpu/24064691
fio Disk Speed Tests:
fio Disk Speed Tests (Mixed R/W 50/50) (Partition -):
---------------------------------
Block Size | 4k (IOPS) | 64k (IOPS)
------ | --- ---- | ---- ----
Read | 103.85 MB/s (25.9k) | 891.58 MB/s (13.9k)
Write | 104.12 MB/s (26.0k) | 896.27 MB/s (14.0k)
Total | 207.97 MB/s (51.9k) | 1.78 GB/s (27.9k)
| |
Block Size | 512k (IOPS) | 1m (IOPS)
------ | --- ---- | ---- ----
Read | 1.42 GB/s (2.7k) | 1.31 GB/s (1.2k)
Write | 1.50 GB/s (2.9k) | 1.40 GB/s (1.3k)
Total | 2.93 GB/s (5.7k) | 2.71 GB/s (2.6k)
8、最后
IP为越南原生IP,质量还不错。不过没有优化线路。建议落地使用~
网络情况,
三网回程:
电信 VNPT -> 163,地理路径越南 -> 香港 -> 内地
北京联通Cogent -> 4837,地理路径越南 -> 印度 -> 美国 -> 北京
上海 联通 VNPT -> 163,地理路径越南 -> 香港 -> 上海
广东 联通 VNPT -> 163,越南 -> 香港 -> 广东
北京 移动 VNPT -> 163,地理路径:越南 -> 香港 -> 北京
上海 移动 VNPT -> 163,地理路径:越南 -> 香港 -> 上海
广东 移动 VNPT -> 163,地理路径:越南 -> 香港 -> 广东
五、三网回程路由(线路可能随网络负载动态变化) 北京TCP:电信 VNPT->163 || 联通 Cogent->4837 || 移动 VNPT->163 北京UDP:电信 VNPT->163 || 联通 Cogent->4837 || 移动 VNPT->163 上海TCP:电信 VNPT->163 || 联通 VNPT->163 || 移动 VNPT->163 上海UDP:电信 VNPT->163 || 联通 VNPT->163 || 移动 VNPT->163 广州TCP:电信 VNPT->163 || 联通 VNPT->163 || 移动 VNPT->163 广州UDP:电信 VNPT->163 || 联通 VNPT->163 || 移动 VNPT->163